昆山乔伟新材料有限公司欢迎您!

乔伟

专注导热材料和电磁波屏蔽材料12年美国派克固美丽(Parker Chomerics)中国区一级代理商
全国咨询热线 400-051-8106
13790339519

热门关键词:导电橡胶FIP导电胶铍铜弹片导电铜铝箔胶带导热材料厂家

派克固美丽导电弹性体/导电橡胶——波导衬料

为了对闸门、罩和接触法兰进行有效的EMI屏蔽和压力密封,Chomerics的波导衬料保证插入少、法兰泄露少、热传输最多和漏气最少。由CHO-SEAL1239和1212导电弹性体制成的衬料是可重复使用的并且不会划伤法兰。
订购热线:400-051-8106

产品描述

派克固美丽导电弹性体/导电橡胶——波导衬料

为了对闸门、罩和接触法兰进行有效的EMI屏蔽和压力密封,Chomerics的波导衬料保证插入少、法兰泄露少、热传输最多和漏气最少。由CHO-SEAL1239和1212导电弹性体制成的衬料是可重复使用的并且不会划伤法兰。

派克固美丽导电弹性体/导电橡胶——波导衬料.tmp

产品优势

派克固美丽导电橡胶/导电弹性体——波导垫片

可用于标准的UG,CPR和CMR法兰

可定制设计去满足特殊需要或者不常使用的波导尺寸(从WR10至WR2300)

能够带有沿挡板开口稍微抬高的凸缘,用于高压、大功率应用

适合于O-形或D-形断面

技术规格

下表列出的衬料将用于所示的标准UG、CPR和CMR法兰。

材料也能定做设计去满足特殊要求或不常用的波导尺寸(从WR 10 至WR 2300),CHO-SEAL 1239材料没有板料。

波导垫片订货步骤

NA=不适用订货步骤列在表的“衬料外形”列中数字1至6指出了衬料的形式,如下所述:
1-模切矩形
2-模切圆形
3-带“O”形断面的模制矩形
4- 带“O”形断面(O-形圈)的模制圆形
5-带“D”形断面(D-形圈)的模制圆形
6-带“D”形断面的模制矩形
对于标准衬料,从表2-8选择物料编号,对于定做外形,必须提供衬料和波导法兰的图纸,而且物料编号将由Chomerics 来确定。

使用表2选择物料编号。波导衬料的尺寸参考以下的表3-8。

表2:

波导衬料

频率

范围 GHz

频带

EIA 波导尺寸

JAN 标记

法兰说明

法兰类型

衬料形状

Chomerics 物料编号

Mil物料编号:M83528/ 013 [ ]-()

UG

CPR

CMR

26. 5-7 40.0

Ka

WR28

RG-96/U ()

UG-599/U

 

 

1

20-01-5000 -1239**

[G] -(001)

UG-600A/U

 

 

阀门

5

20-02 -6510 -1212

[K]-(002)

18.0 -7 26. 5

K

WR42

RG-53/U ()
RG-121/U ()

UG-595/U UG-597/U

 

 

1

20-01-5005 -1239**

[G]-(003)

UG-596A/U UG-598A/U

 

 

阀门

5

20-02 -6515 -1212

[K]-(004)

12.4-7 18.0

Ku

WR62

RG-91/U () RG-107/U ()

UG-419/U

 

 

1

20-01-5010 -1239**

[G] -(005)

UG-541A/U

 

 

阀门

5

20-02 -6520 -1212

[K]-(006)

10.0 -7 15.0

 

WR75

 

 

1

20-11-1683 -1239

[G] -(007)

阀门

5

20-02 -6525 -1212

[K]-(008)

8. 2-7 12.4

X

WR90

RG-52/U () RG-67/U
()

UG-39/U UG-135/U

 

 

1

20-11-5015 -1239

[G] -(009)

UG-1736/U UG-1737/U

CPR -90F

 

平面接触

1

20-01-5115 -1239**

[G] -(010)

UG-136A/U UG-40A/U

 

 

阀门

5

20-02 -6531-1212

[K]-(011)

UG-136B/U UG-408/U

 

 

阀门

5

20-02 -6530 -1212

[K]-(012)

UG-1360/U UG-1361/U

CPR -90G

 

接触

3

20-03 -6630 -1212

[K]-(013)

7. 0-711. 0

 

WR102

 

UG-149A/U

 

 

阀门

5

20-02 -6535 -1212

[K]-(014)

7.05 -7 10.0

x,

WR112

RG-51/U () RG-68/U
()

UG-51/U UG-138/U

 

 

1

20-11-5020 -1239

[G] -(015)

UG-1734/U UG-1735/U

CPR -112F

 

平面接触

1

20-01-5120 -1239**

[G]-(016)

UG-528/U UG-137B/U

 

 

阀门

5

20-02 -6540 -1212

[K]-(017)

UG-1358/U UG-1359/U

CPR -112G CPR-112G/F

 

接触

3

20-03 -6635 -1212

[K]-(018)

接触法门/

6

20-03 -3686 -1212

-

5.85-7 8. 2

x.

WR137

RG-50/U ()
RG-106/U ()

UG-344/U UG-441/U

 

 

2

20-11-5025 -1239

[G]-(019)

UG-1732/U UG-1733/U

CPR -137F

 

平面接触

1

20-01-5125 -1239**

[G] -(020)

 

 

CMR-137

平面接触

1

20-01-5225 -1239**

[G] -(021)

UG-343B/U UG-440B/U

 

 

阀门

4

20-02 -6545 -1212

[K]-(022)

UG-1356/U UG-1357/U

CPR -137G

 

接触

3

20-03 -6645 -1212

[K]-(023)

CPR-137G/F

接触阀门/

6

20-03 -3731-1212

-

4.9 -7 7.05

 

WR159

 

UG-1730/U UG-1731/U

CPR-159F

 

平面接触

1

20-01-5130 -1239**

[G]-1024)

 

 

CMR-159

平面接触

1

20-01-5230 -1239**

[G]-1025)

 

CPR -159G

 

阀门

3

20-03 -L767-1212

-

 

CPR-159G/F

 

接触阀门/

6

20-03 -3980 -1212

-

3.95 -7 5.85

c

WR187

RG-49/U
(铜)) 
RG-95/U
(铝)

UG-149A/U UG-407/U

 

 

2

20-11-5035 -1239

[G]-1026)

UG-1728/U UG-1729/U

CPR-187F

 

平面接触

1

20-01-5135 -1239**

[G]-1027)

 

 

CMR-187

平面接触

1

20-01-5235 -1239**

[G]-1028)

UG-148C/U UG-406B/U

 

 

阀门

4

20-02 -6555 -1212

[K]-1029)

UG-1352/U UG-1353/U

CPR -187G

 

接触

3

20-03 -6655 -1212

[K]-1030)

 

CPR-187G/F

 

接触阀门/

6Ht

20-03 -3561-1212

-

3.30 -7 4. 90

 

WR229

 

UG-1726/U UG-1727/U

CPR- 229F

 

平面接触

1

20-01-5140 -1239**

[G]-1031)

 

 

CMR- 229

平面接触

1

20-01-5240 -1239**

[G]-1032)

 

CPR -229G

 

阀门

3

20-03 -L768-1212

-

2.6 -7 3.95

s

WR284

RG-48/U
(铜)
RG-75/U

UG-53/U UG-584/U

 

 

2

20-01-5045 -1239**

[G]-1033)

UG-1724/U UG-1725/U

CPR- 284F

 

平面接触

1

20-01-5145 -1239**

[G]-1034)

 

 

CMR- 284

平面接触

1

20-01-5245 -1239**

[G]-1035)

UG-548/U UG-585A/U

 

 

阀门

5

20-02 -6565 -1212

[K]-1036)

UG-1348/U UG-1349/U

CPR -284G

 

接触

3

20-03 -6665 -1212

[K]-1037)

2.2-7 3.3

 

WR340

RG-112/U
(铜) RG-112/U
(铝)

UG-533/U UG-554/U

 

 

平面接触

1

20-01-5050 -1239**

[G]-1038)

 

CPR-340F

平面接触

1

20-01-5150-1239**

[G]-1039)

1.7-7 2.6

w

WR430

RG-104/U
(铜)RG-105/U

UG-435A/U UG-437A/U

 

 

平面接触

1

20-01-5055 -1239**

[G]-1040)

 

CPR- 430F

 

平面接触

1

20-01-5155-1239**

[G]-1041)

 

CPR -430G

 

阀门

3H

20-03 -1560 -1212

-

 

CPR- 430G/F

 

接触阀门/

6Ht

20-03 -6685 -1212

-

1.12-7 1.7

L

WR650

RG-69/U
(铜) RG-103/U

UG-417A/U UG-418A/U

 

 

平面接触

1

20-01-5060 -1239**

[G]-1042)

 

 3

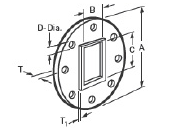
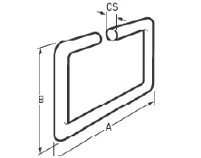
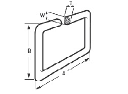
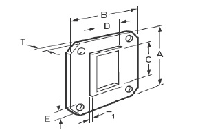
波导衬料——模切矩形

外形1-模切矩形

 

尺寸 inches (mm)


MIL物料编号:' M83528/
013G-I l

Chomerlcs 物料编号

A

B

C

D

E•

T

±0.015 (0.38)

±0.015 (0.38)

0.015 (0.38)- 0.000

±0.010 (0.25)

±0.003 (0.08)

1.496 (38.00)

1.496 (38.00)

0.760 (19.30)

0.385 (9.78)

0.155 (3.94)

0.027 (0.69)

7

20-11-1683-1239

0.750 (19.05)

0.750 (19.05)

0.145 (3.68)

0.285 (7.24)

0.1 16 (2.95)

0.027 (0.69)

1

20·U1-500(}.1239

0.875 (22.23)

0.875 (22.23)

0.175(4.45)

0.425 (10.80)

0.1 16 (2.95)

0.027 (0.69)

3

20·U1-5005-1239

1.313 (33.35)

1.313 (33.35)

0.630 (16.00)

0.320 (8.13)

0.140 (3.56)

0.027 (0.69)

5

20·U1-501(}.1239

1.625 (41.28)

1.625 (41.28)

0.905 (22.99)

0.405 (10.29)

0.169 (4.29)

0.027 (0.69)

9

20·U1-5015-1239

1.875 (47.63)

1.875 (47.63)

1.130 (28.70)

0.505 (12.83)

0.180 (4.57)

0.027 (0.69)

15

20-11-5020-1239

3.750 (92.25)

5.440 (138.18)

1.710 (43A3)

3.410 (86.61)


0.264 (6.71)
0.250 (6.35)

0.027 (0.69)

38

20.01-5050-1239

4.188 (106.38)

6.344(161.14)

2.160 (54.86)

4.310 (109A7)


0.266 (6.76)
0.281 (7.14)

0.027 (0.69)

40

20·U1-5055-1239

5.438 (138.13)

8.688 (220.68)

3.260 (82.80)

6.510 (165.35)


0.250 (6.35)
0.328 (8.33)

0.027 (0.69)

42

20·U1-5060-1239

1.594 (40.49)

2.094 (53.19)

OA05 (10.29)

0.905 (22.99)

0.169 (4.29)

0.027 (0.69)

10

20·U1-5115-1239

1.750 (44.45)

2.500 (63.50)

0.505 (12.83)

1.130 (28.70)

0.171 (4.34)

0.027 (0.69)

16

20·U1-5120-1239

1.937 (49.20)

2.687 (68.25)

0.633(16.08)

1.380 (35.05)

0.206 (5.23)

0.027 (0.69)

20

20·01·5125·1239

2.438 (61.93)

3.188 (80.98)

0.805 (20.45)

1.600 (40.64)

0.257 (6.53)

0.027 (0.69)

24

20·01·5130·1239

3.500 (88.90)

2.500 (63.50)

1.880 (47.75)

0.880 (22.35)

0.266 (6.76)

0.027 (0.69)

27

20·01-5135-1239

2.750 (69.85)

3.875 (98.43)

1.155 (29.34)

2.300 (58.42)

0.270 (6.86)

0.027 (0.69)

31

20·01-5140-1239

4.50 (114.30)

3.000 (76.20)

2.850 (72.39)

1.350 (34.29)

0.266 (6.76)

0.027 (0.69)

34

20·01-5145-1239

3.750 (95.25)

5.438 (138.13)

1.710 (43.43)

3.410 (86.61)

0.266 (6.76)

0.027 (0.69)

39

20·01-5150·1239

6.344 (161.14)

4.188 (106.38)

4.310 (109.47)

2.160 (54.86)

0.266 (6.76)

0.027 (0.69)

41

20·01-5155·1239

1.531 (38.89)

2.281 (57.94)

0.632 (16.05)

1.382 (35.10)

0.150 (3.81)

0.027 (0.69)

21

20·01-5225·1239

1.750 (44.45)

2.500 (63.50)

0.800 (20.32)

1.600 (40.64)


0.160 (4.06)
0.150 (3.81)

0.027 (0.69)

25

20·01-5230·1239

1.784 (45.31)

2.781 (70.64)

0.882 (22.40)

1.882 (47.80)


0.156 (3.96)
0.141 (3.58)

0.027 (0.69)

28

20·01-5235·1239

2.000 (50.80)

3.156 (80.16)

1.155 (29.34)

2.300 (58.42)

0.150 (3.81)

0.027 (0.69)

32

20·01-5240·1239

3.844 (37.64)

2.344 (59.54)

2.850 (72.39)

1.350 (34.29)


0.172 (4.37)
0.188 (4.78)

0.027 (0.69)

28

20·01·5245·1239


表4:

波导衬料——模切圆形

波导衬料——模切圆形



表5:

波导衬料——带‘O’形断面的模制矩形

波导衬料——带‘O’形断面的模制矩形


表6:

波导衬料——带‘O’形断面的模制圆形

波导衬料——带‘O’形断面的模制圆形


表7:

波导衬料——带‘D’形断面的模制圆形

波导衬料——带‘D’形断面的模制圆形


表8:

波导衬料——带‘D’形断面的模制矩形

波导衬料——带‘D’形断面的模制矩形

联系乔伟

昆山乔伟新材料有限公司

服务热线:400-051-8106

公司传真:0512-57929135

企业邮箱:ksqw@ruilusd.com

咨询QQ:2879696435

公司地址:江苏省昆山市张浦镇南港虹新路28号

采购:派克固美丽导电弹性体/导电橡胶——波导衬料

  • *联系人:
  • *手机:
  • 公司名称:
  • 邮箱:
  • *采购意向:
  • *验证码:验证码

跟此产品相关的产品 / Related Products

联系乔伟
服务热线:
400-051-8106

传真:0512-57929135

邮箱:ksqw@ruilusd.com

地址:江苏省昆山市张浦镇南港虹新路28号